
Il futuro delle tecnologie di adidas & Nike nel 2016 L'anno della customizzazione
L’innovazione è un percorso confuso e altrettanto rischioso, ma basilare per la sopravvivenza di aziende come adidas e Nike.
L’innovazione va al di là della creazione di un semplice prodotto, si trasforma in vera e propria esperienza. Di anno in anno – o meglio, di mese in mese – la tecnologia avanza e le aziende devono riuscire a stare al passo con i continui stimoli esterni, cercando di adattarsi e soddisfare le esigenze dei consumatori.
Ora, la domanda è: il 2016 sarà l’anno giusto per gli sneakerhead appassionati di tecnologia e al tempo stesso design innovativo?
adidas ha svelato le sue intenzioni future attraverso il progetto Futurecraft, reso possibile da una partnership con l’azienda europea leader nel settore della stampa 3D, Materialise. L’iniziativa è solo agli albori ma manifesta l'impegno del marchio verso l'innovazione in tutte le aree di produzione con un focus sulle esigenze personali di ogni consumatore.
Questa rivoluzionaria concezione consentirebbe la realizzazione di scarpe completamente adattabili alle caratteristiche anatomiche del piede, ricreando l’impronta e gli esatti punti di pressione per garantire il massimo delle prestazioni. Per realizzare la runner Futurecraft 3D, il team creativo di adidas ha scoperto che il Poliuterano termoplastico, un materiale abbastanza nuovo al mercato, era adatto grazie alla sua incredibile elasticità e l’elevata resistenza agli strappi e alle abrasioni.
“L’intersuola stampata in 3D non solo ci permette di realizzare una grande scarpa da running, ma anche di utilizzare i dati delle prestazioni per consentire un’esperienza veramente su misura soddisfacendo le esigenze di ogni atleta” ha riferito Eric Liedtke, membro dell’adidas Group Executive Board.
La stampa 3D non è una novità, ma il suo progresso continuo ci spinge a sognare molto più in grande. La Futucraft 3D non è semplicemente una scarpa, è un nuovo processo di produzione, un’innovazione che potrebbe rivoluzionare l’intero mercato.
Lo scorso novembre adidas aveva inoltre presentato Futurecraft Leather, in collaborazione con il designer industriale Alexander Taylor e il designer di scarpe Joachim de Callatay. Si tratta di un processo di stampa 3D che, con un unico pezzo di pelle, consente di creare una tomaia senza cuciture per garantire una maggiore flessibilità. Il modello scelto per la presentazione di questa incredibile innovazione, in occasione del 45° anniversario dalla sua creazione, è stata ovviamente la Superstar. Il modello é stato poi rilasciato soltanto da Dover Street Market a Tokyo, Londra e New York con una tiratura limitata a 45 pezzi.
Al momento trovate giusto qualche pezzo in vendita su Ebay ad un prezzo che varia dai 1.600 fino ai 3.000 euro… tanto per dire.
Futurecratf è soltanto l’inizio e adidas promette di stupirci con altri progetti che seguiranno nei prossimi mesi. “Abbiamo molto lavoro da fare, siamo onesti” ha detto Liedtke. “L’idea per ora è di mostrare cosa è possibile e far si che le persone si uniscano a noi. Idealmente dovremmo avere prodotti limitati - e intendo realmente limitati - nell’estate del 2016”.
Adidas si pone quindi l’obiettivo di sperimentare materiali e processi innovativi, coniugando le qualità della lavorazione artigianale con il potenziale illimitato delle nuove tecnologie.
Nemmeno Nike è nuova all’innovazione. Attraverso i suoi innumerevoli esperimenti, il marchio continua a lanciare sul mercato prodotti estremamente sovversivi.
L’innovazione secondo Nike viene sintetizzata in quattro regole:
#1 Per innovare, devi mettercela tutta
#2 Anticipa l’evoluzione di un prodotto
#3 Coinvolgi i tuoi partner
#4 Alimenta la cultura aziendale
Cercando di solidificare la propria reputazione nel settore tecnologico e innovativo, Nike ha recentemente presentato alcuni brevetti che ci mostrano solo un assaggio del futuro che ci aspetta.
Con il primo brevetto (US 20150366293) qualsiasi persona al mondo potrebbe avere la possibilità non solo di creare la propria unica combinazione di pattern e colori della tomaia Fliknit, ma anche di visualizzare la manifattura della scarpa step by step.
Il procedimento in questo caso è molto semplice: una volta che abbiamo selezionato le varie parti e caratteristiche della scarpa, avviene una trasmissione di informazioni alla macchina per maglieria che inizia l’intero processo. L’intera operazione viene quindi visualizzata dall’user, reso partecipe a 360° addirittura sulla disponibilità dei materiali, con l’impressione di progettare fisicamente la produzione di un articolo di calzature unico.
Ricordiamo che attualmente Nike consente di personalizzare alcuni elementi delle sue scarpe sportive con il suo programma Nike Fliknit iD, ma non a livello del filato stesso.
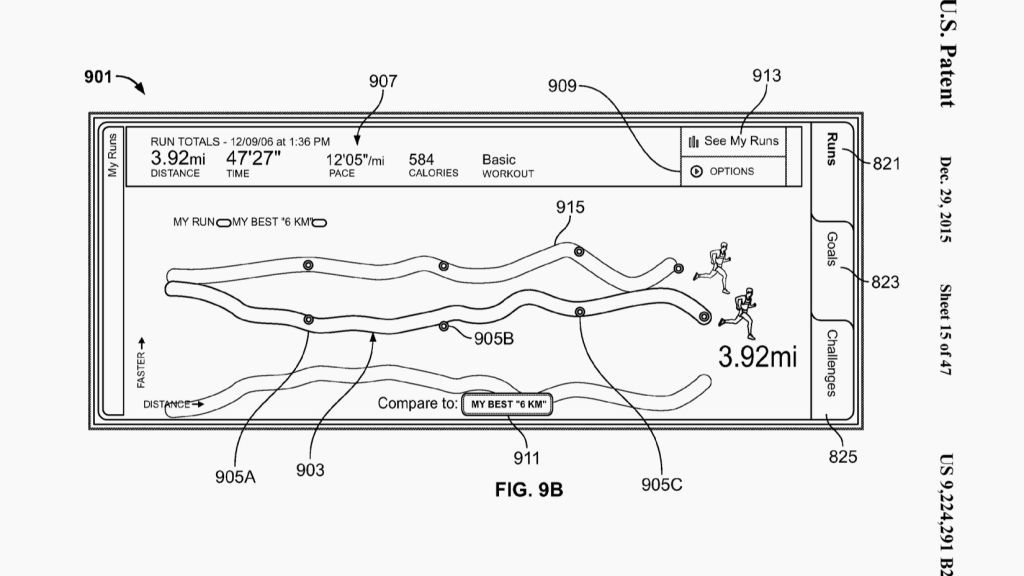
Con il secondo brevetto (US 9224291) Nike mostra una sneaker “smart” in grado di misurare parametri quali velocità (accelerazione e decelerazione), direzione di movimento e calorie bruciate, catturando così l’intera performance nei minimi dettagli. Nike potrebbe utilizzare queste informazioni per creare un percorso di corsa, permettendo di fissare degli obiettivi. Mentre molte persone apprezzano l’importanza dell’attività fisica, tante altre difficilmente trovano la motivazione richiesta per mantenere un programma regolare.
Con questa sneaker potete fissare degli obiettivi come ad esempio la distanza da percorrere e la velocità necessaria, monitorando regolarmente le proprie performance. Queste informazioni possono anche essere condivise con altri user e fare una comparazione delle varie performance, così da creare quella sana competizione necessaria nello sport.
Con il terzo brevetto (US 9216552) Nike scopre il modo per imprimere un display 3D fotorealistico sulle scarpe. La stampa 3D ha rivisitato la litofonia creando un nuovo concetto di immagini fotografiche tridimensionali, da cui Nike ha preso spunto. La litofonia funziona se retroilluminata, il che potrebbe risultare un problema per le sneaker, a causa del poco spazio disponibile per includere una fonte luminosa. Ma soprattutto, vista la rigidità della litofonia, potrebbe essere difficile da incorporare in un oggetto molto flessibile. Fortunatamente la tecnologia brevettata da Nike non necessita dell’uso di nessuna retroilluminazione.
Entrambe le aziende vogliono provare le proprie capacità di innovazione, cercando di differenziarsi, creando stupore e curiosità da parte dei consumatori.
La speranza è che, in un futuro prossimo, non venga sconfessato il binomio tra stampa 3d e prezzo semi-accessibile.
L’obiettivo è invece quello di creare un rapporto ancora più stretto con i consumatori, cercando di conoscerli come mai prima.























































